|
| Manual of ZB series
rotary lobe pump: |
|
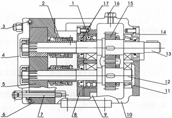
Diagram
1. Double row ball bearing 2. Mechanical
sealing for pump 3. O-shaped sealing washer 4. Pump cover 5.
Trefoil pump wheel 6. Pump body 7. Double end studs 8. Cover
pressing of bearing 9. Bearing support 10. Gearbox 11. Taper
roller bearing 12. Transmission shaft 13. Main transmission
shaft 14. Back cover of gearbox 15. Bevel wheel (a pair) 16.
Oil seal 17. O-shaped sealing washer
Installation
Because this pump is not equipped
with motor, regulating device, baseplate or other accessories
additionally, it is hoped that a motor (speed regulating motor
is much better) as well as a pair of elastic couplings are properly
chosen according to following diagram (installation diagram)
and the motor power and max speed limit in the front technical
parameter table when installing, then collocate a stainless
steel baseplate according to this pump and the central height
of selected motor.

Notice when installing:
1、The connection of pump and
motor output shaft, first of all, regulate them to horizontal
position respectively, make sure they are in the same axis,
then install linker, or the parts will be damaged.
2、For this pump belongs to constant volume pump, with fixed
exhaust volume in every rotation, in case that the upper working
procedure stops while the pump operates still, the pressure
of pump will rise endlessly, at last, leakage, damage of parts
and other accidents will happen, so effective prevention measures
must be taken. Example one: link upper and lower working procedures,
when they stop working, stop the pump at the same time. Example
two: install security valve and super-pressure circulation system
on output pipeline, it will automatically discharge load in
case of over pressure.
3、If install control valve on pump, install it on inlet pipeline,
the outlet pipeline is improper to install, for it is easy to
create misplay and overpressure.
Carry out thorough examination after installing, including firmness
of mechanical parts, electric wiring, etc., then rotate pump
for 3~5 circles by hand, examine whether there is lock or loose
phenomena till normal, then put through electricity and implement
test run, stop examining if there is abnormity, delivery to
use after everything is okay.
Operation
This pump is convenient and
safe to operate, press the button and put through the electrical
source to start working, in order to ensure better working of
pump, following essentials should be noticed.
1、Before starting the pump:
check whether the parts of pump are perfect, valves on inlet
and outlet pipelines are opened completely, in a word, the mechanical
parts must be perfect and the pipelines must be unblocked.
2、At the time of starting the pump: before starting this pump,
equipment of the next working procedure must be started.
3、Pay attention whether the operation is normal or not in the
course of operation, stop the pump immediately if there is flow
block at the front to the pump or block at the back of the pump,
restart it after eliminating the failures.
4、When entirely stop operating, stop the machine one after another
according to process flow, that is stop the pump firstly, then
stop related equipments.
For any mechanical equipment, daily maintenance is not only
reflected on production, it reflected on service life of mechanical
equipments even more, so does pump, therefore, following maintenance
tasks should be noticed.
1、Sealing element. The sealing element of pump is divided into
static sealing and movable sealing, make sure that the sealing
washer of static sealing element without nick or scrape, or
it will affect sealing effect directly; to movable sealing element,
it is affected by many factors such as pressure, corrosion of
transported medium, abrasion of granule in medium, etc., (refer
to picture 1, part 2) leakage phenomenon will probably take
place if there is slight inattention. Stop the machine to examine
and repair immediately in case there is leakage, wipe with soft
and clean cotton cloth, coat with glycerin, after assembling,
try with hands at first, then start the machine to use, replace
the parts if it is impossible to repair.
2、Sealing element. The sealing element of pump is divided into
static sealing and movable sealing, make sure that the sealing
washer of static sealing element without nick or scrape, or
it will affect sealing effect directly; to movable sealing element,
it is affected by many factors such as pressure, corrosion of
transported medium, abrasion of granule in medium, etc., (refer
to picture 1, part 2) leakage phenomenon will probably take
place if there is slight inattention. Stop the machine to examine
and repair immediately in case there is leakage, wipe with soft
and clean cotton cloth, coat with glycerin, after assembling,
try with hands at first, then start the machine to use, replace
the parts if it is impossible to repair.
3、Electric system. The appliances, materials or gases that will
destroy insulation performance are forbidden around electrical
equipments. Make sure that the electrical equipments are working
in dry environment at the same time. Equipped with dampproof
establishments if inevitable.
4、Daily maintenance. Carry out effective cleaning to pump with
proper washing lotion according to the character of transported
material when the machine stops, rinse with clean water to ensure
pump’s cleanness.
|
|